許多抽獎、贈品活動在舉辦時,為避免引起作弊、私相授受等爭議,反倒損及公司名譽,所以通常會限制同公司甚至同一集團的員工不得參加。同樣地,為避免經理人利用職權之便造成股東權益損失,對於出售處分資產、關係人等交易事項,上市櫃公司都會訂定流程規章,甚至有時還必須發布重大訊息。

然而,筆者日前在詳讀三圓建設年報時,赫然發現2014年時,三圓建設居然以1元的價格將競殿實業245萬元股權售出,而且處分利益居然也是1元。先不說其他的問題狀況,1元賣出獲利1元,也就是說公司持有成本是0元,讓人懷疑有賤賣公司資產之虞。
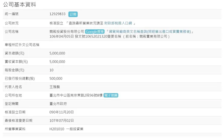
不只如此,據三圓年報所載,此筆的交易對象”其他關係人”,其實並非外人,就是董事長王光祥家族。據經濟部商業司網站資料顯示,競殿投資是在2017年4月變更名稱,目前董事長王雅麟是王光祥長子、三圓建設總經理,董事中的王雅萱則是王光祥女兒、三圓青島董事長。


雖然競殿股權交易金額非常小、僅為1元,處份利益也只有1元,就出售金額來說,絕對未達許多公司出售資產辦法中辦理公開招標的標準,但即便如此,也不可能發生成本0元的狀況。
更令人納悶的是,年報上該筆股權是245萬”元”、而非245萬”股”,兩者顯著差異,為何會計師會這樣表示,是誤植或是提示?就需要主管機關進一步深入了解,尤其是對該股權交易案,先前是否經第三方鑑價,以及是否經過董事會討論、董事會是否遵從迴避利益議案等等。
另外,由於該交易對象的”其他關係人”,據經濟部商業司網站資料顯示,其實就是王光祥買下,也有違反公司治理原則之虞。





















