** 3C機構設計爸版權所有 ©️ **
在3C產品的所有機構件,所有的外觀件,對於end user來說,是最直接判定產品好壞的因素之一。如果一個產品的零件在外觀上,或是在產品內部,存在著刮手的毛邊、或者是銳角,對生產線的組裝人員、BTB客戶的組裝生產線人員,以及使用產品的終端客戶,甚至任何會接觸產品的任何人員,都會造成受傷的風險。各位要知道,一個產品如果是因為銳利邊或銳利角所造成的人員受傷,在國外是會被控訴及高額索賠的。所以,在產品的機構設計和模具設計上,以及模具品驗收的動作中,必須注意毛邊不可以超過規格的底線。通常,在產品上經常會發生毛邊、銳利邊,銳利角的地方有以下幾種狀況,當然也可以依各種狀況做出相對應的對策。
- ID 造型所產生的銳角。工業設計工程師往往在造型設計上,端看造型的美感,結果忽略了在機構設計上拆件所產生的銳利邊或銳角。由於外觀設計所造成的銳利邊或銳利角是一個天大的問題,因為這個問題可能會造成所以機構設計重來。所以,外觀設計圖必須在專案開發初期就必須被詳細檢視。
- 製品由模具產生的銳利邊或銳利角。在設計的過程中,儘可能把毛邊方向朝產品的內部,以及操作空間的另一面。模具品的承認過程中,也必須特別注意由parting line、合模間隙太大所產生的塑膠毛邊,沖壓件也必須注意毛邊不可以刮手,尤其要特別注意連續模的每個部件間的連結點切斷後的段差所產生的銳利角。
- 機構設計的部件組裝間所造成的銳利角。機構設計的結構件、或者是外觀件如旋轉的小門板,在門旋轉狀態時,門內的結構件有銳利邊、角的狀況要避免。
在ID外觀設計、機構設計,以及各個流程中都被管理及管制,那到底我們的機構設計要做到什麼程度才不算是銳利邊、銳利角呢?介紹到這裡,就要把主題一定Safety (安規)中的銳利邊、銳利角的驗證規格,也是驗證系統中所有可被碰觸零件是否可以被接受的一項檢驗規格,該檢驗規格的內容如下
測試標準:UL60950-1 第二版 & UL1439
測試設備:銳邊測試儀(E.D.&D.型號:SET-50參考照片1)
測試程序
1.測試頭的曲面按指示的順序用三層膠帶覆蓋
以下:
a) 第一層(內層)——指示類型,如表中所述的黑色乙烯基泡沫膠帶
b) 第二層(中間層)——2 號傳感膠帶,如表中所述的白色乙烯基泡沫膠帶
c) 第三層(外層)——1 號傳感膠帶,如表 1 中所述的四氟乙烯膠帶。
2.每條膠帶都應覆蓋測試頭圓周的大約 180 度,以防止膠帶拉伸。
3. 貼在頭上時不得拉伸貼佈。 如圖7.1
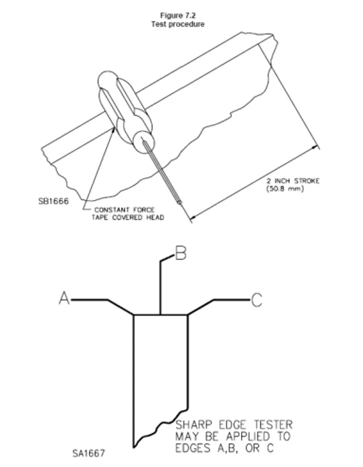
4. 銳邊測試儀的膠帶覆蓋頭的中心應按圖 7.2 所示的方式定位在被測邊緣上。 測試儀的手臂應位於擋塊之間,以便膠帶覆蓋的頭部在邊緣上施加 1-1/2 lbf (6.7 N) 的力。 測試儀應立即沿邊緣移動 2 英寸(50.8 毫米)的距離,然後返回到其起始位置,而無需將測試儀從邊緣移開。 然後應將其從邊緣撤回。 邊緣和膠帶覆蓋頭之間的總接合距離不超過 4 英寸(101 毫米)。 行駛時間不得超過 5 秒,也不得少於 2 秒。
例外:長度小於 2 英寸(50.8 毫米)的邊緣應測試其長度兩倍的距離。(示例:對於 1-1/2 英寸或 41.2 毫米長的邊緣,測試儀將沿其長度移動 然後回到起始位置,使邊緣和測試器之間的總接合距離為 3 英寸或 76.2 毫米)。
5. 應檢查膠帶覆蓋的磁頭以確定是否發生穿透通過兩個傳感層。 如果通過兩個傳感層發生滲透,則黑色通過所產生的切口可以看到指示膠帶。
測試標準
將照片 1 中所示的鋒利邊緣測試儀應用於可觸及的邊緣,不應導致切穿傳感帶的兩個外層。
注意:客戶的標準更為嚴格:“不應導致感應帶的一層外層被切穿”。
例如,這是一份供參考的報告範例
test location Penetration of a 外層 Tapes (是/否) comment
例如 1 ~ 19 否 如照片
20 是 如照片
測試結果:
位置 1-19 通過 UL1439 標準和客戶標準;
位置 20 不符合客戶的標準。
結論:一共測試了5款產品,只有一款產品第20的位置銳邊測試不及格,其餘4款都正常。
注意事項:
1.第15 ~ 19的位置(參考照片15-19)的棱角很鋒利,但通過UL 1439標準和客戶標準,提醒相關人員盡可能做改善。
2. 第20的位置處(參考照片20)的邊緣很鋒利,不符合客戶標準,請相關人員做改善。
~~~~~~~~~~~~~~~~~~~~~~~~~~~~~~~~~
報名線上一對一線上課程在臉書主頁,也可以私訊報名
IG:https://instagram.com/tomdaddydesign/
Facebook:https://www.facebook.com/tomdaddydesign
方格子:https://vocus.cc/user/@tomdaddydesign




























