背景
随着itrx.io用户数量的日渐增长,基础的能量服务已经不能满足部分用户的需求了,刚来的同学们可以参考这篇文章3022年了,还在燃烧TRX转账吗,针对特定的用户场景,我们推出了不同的解决方案,今天来给大家介绍下“智能托管”服务。
我们先来看看用户的反馈
转账需要的能量有的是32000,有的是65000,我一天转账几百笔,按32000一笔不够,按65000又多了,怎么估算要租用多少能量?
你们能不能帮我自动续期,这个业务本身是辅助业务,我也不想花时间盯着?
业务量周末会增加,平日又没那么多,应该如何租用能量比较划算?
原理
针对这些用户提出的问题,我们在基础服务之上,推出了“智能托管”服务,吹牛不交税,先吹起来,该功能可以最大限度为您节省成本,让您无需关注成本,专注发展业务,基于历史数据的学习,越使用,越懂您
其工作原理如下
- 根据账号的历史转账量,通过算法自动估算并委托最佳的能量
- 后续会实时检测账号的剩余能量,当能量不足时自动再次补充能量
其能量价格也是按照基础服务的价格来,例如您手动/API下单100w能量,需要50TRX,那么自动补充的能量也是按这个价格来。
操作
下单
操作上就比较傻瓜了,所谓智能,就是只要填入地址,其他不用操心,当然得关注余额(余额不足会提前发送通知邮件),登录后点击左侧菜单的“智能托管”

智能托管下单界面
委托列表
委托成功后,要查看自己有哪些地址在被托管,点击右侧菜单的“托管列表”,即可看到托管的地址列表和概要描述

托管列表
这里可以看到最近的运行状态等信息,如果不想继续托管了,直接点击禁用即可,已委托的能量将在到期后回收,不再继续委托新的能量。
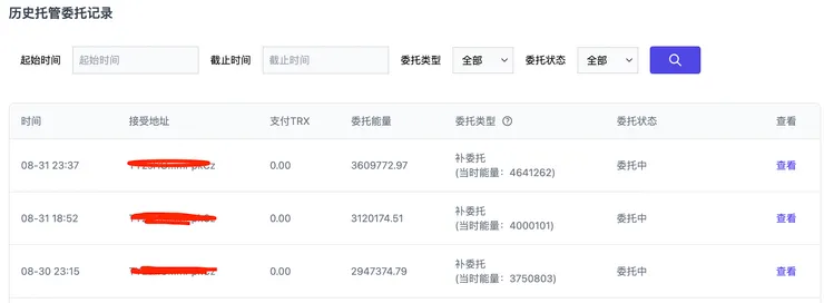
委托历史
要查看每个委托地址的历史记录,点击地址后的“托管记录”,您将能看到何时委托了多少能量,以及委托后的能量快照,这有助于帮您判断此功能是否合理。

委托历史
好了,今天说到这里,对这个功能有兴趣或建议的同学,可以登录https://itrx.io体验,看看是否智能哦。



















