總的來說,中工公司在房地產開發業務的努力下,營收和業績有望逐步提升。2024 股價有上漲趨勢。
我們先從中工從2021Q1到2023Q3在財報上各項數據表現,數據皆參考Yahoo股市
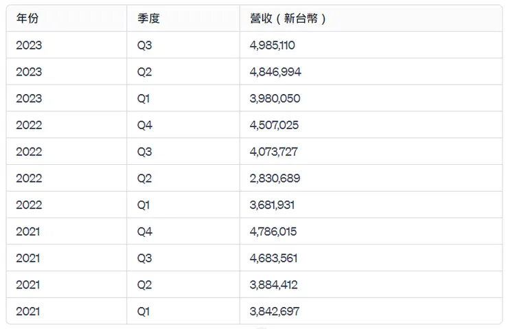
營收

中工2021至2023營收表
每股盈餘
公司每股盈餘在不同季度之間有較大的波動。需要注意的是,在2023年Q1至Q3,每股盈餘呈下降趨勢。損益表
公司的營業收入在2023年Q3有所增加,顯示一定的增長趨勢。稅後淨利在2023年Q3有所回升,但在過去的幾個季度存在波動。
資產負債表

中工2021至2023資產負債表
現金流量表

中工2021至2023現金流量表
公司在2023 Q3營業現金流為負值,需要關注營業活動的現金流動情況。
結論
營收趨勢:
- 正向趨勢: 中工公司的營收在過去幾個季度呈現上升趨勢,顯示公司業務擴張或市場需求增加。
- 重要案件帶動: 根據新聞,公司有大型房地產開發案(例如「中工碧硯閣」、「雲宇宙AI園區」、「鳴森苑」),這些案件的完工預計將對公司營收產生重要影響。
盈利能力趨勢:
- 每股盈餘波動: 每股盈餘在過去幾個季度間呈現波動,其中一些季度呈現增長,而另一些季度則下降。
- 業績提升: 新聞指出,2024年有望有大型案件完工,有望帶動公司業績的提升。
現金流量趨勢:
- 自由現金流負面: 自由現金流在某些季度呈現負面,這可能是由於投資或債務支付。
資產負債表趨勢:
- 總資產增加: 公司的總資產在過去幾個季度內呈現增加趨勢,這可能是由於業務擴張或資本支出。
- 總負債增長: 總負債也有增長,需要注意公司的負債結構和償債能力。
總的來說,中工公司在房地產開發業務的努力下,營收和業績有望逐步提升。
投資指數(1-10):6





















