2026年繳稅季即將到來,從4月牌照稅、再到5月的綜所稅和房屋稅,各式各樣複雜的稅金計算、繳稅方式,都讓首報族霧煞煞。別擔心!本文將帶你一次了解報稅第一彈,也就是牌照稅是什麼?牌照稅是怎麼計算、繳納的,有沒有什麼情況能免徵牌照稅呢?此外,我們也彙整了牌照稅的常見陷阱與注意事項,幫助你第一次繳牌照稅就上手!
一、牌照稅是什麼?
牌照稅是使用牌照稅的簡稱,是名下擁有各型機動車輛的國人,每年都必須繳納的稅務。牌照稅的計算基準,會因交通工具種類(汽、機車)、用途(營業、自用)與排氣量(cc數)而有所不同。
牌照稅是什麼:牌照稅是政府稅收的一種,會依據用途和排氣區分級距。牌照稅和燃料費不同,燃料費不是稅,而是一種行政規費。
1.為什麼要課徵使用牌照稅?
課徵牌照稅的主要目的,是為了減少民眾隨意拋置廢棄車輛,而造成占用公有車格、違規停車的亂象。只要車主沒有辦理報廢手續,每年就還是必須繳納使用牌照稅。特別的是,牌照稅是屬於地方稅務,主要用於支應縣市政府的財政需求。
2.燃料稅是什麼?
常和使用牌照稅一起聽到的,還有「燃料稅」。但是燃料稅其實不是稅,而是一種行政規費喔!它的全名是「汽油燃料使用費」,又稱汽燃費、燃料費,是以汽機車用途、油料及排氣量為計算基準,所訂定出的固定式費率。這筆費用的主要用途,就是公路的養護、修建及安全管理。
3.燃料稅與牌照稅的差異
燃料費和牌照稅,到底哪裡不一樣呢?它們之間最明顯的差異,就在於「主責機關」的不同。牌照稅既然是地方「稅務」,主責機關是稅捐處,不管是繳費或查詢,都是由稅捐處來處理。而燃料費屬於「規費」,主責機關是監理站,如有繳費單遺失或需要補繳的情形,就要到監理站來申辦。

2026牌照稅繳納懶人包
二、怎麼查詢牌照稅該繳多少?
既然牌照稅會依據工具種類、用途與排氣來訂定級距標準,那我要如何知道自己的使用牌照稅該繳多少錢呢?由於牌照稅是依據車輛種類及排氣量來訂定納稅級距,排氣量越高、須繳納的稅金就會越多。以下我們將針對各種交通工具的牌照稅計算費率進行說明。
1.機車使用牌照稅級距
機車的牌照稅課徵級距,從路上較為常見的、150cc以下的普通機車,以及151cc以上、或是排氣量更大的重型機車作為劃分。
機車牌照稅級距
排氣量(cc)牌照稅額150以下免徵收151~250800元251~5001,620元501~6002,160元601~1,2004,320元1,201~1,8007,120元1,801以上11,230元(上限)
2.汽車使用牌照稅級距
汽車的種類較多,我們在這裡會先列出相對常見的自用小客車,以及營業用小客車的牌照稅費率。其餘車種的牌照稅費率,可以在文末的附表中對照。
(1)自用小客車
自用小客車牌照稅級距
排氣量(cc)牌照稅額251~5001,620元501~6002,160元601~1,2004,320元1,201~1,8007,120元1,801~2,40011,230元2,401~3,00015,210元3,001~4,20028,220元4,201~5,40046,170元5,401~6,00069,690元6,001~7,800117,000元7,801以上151,200元(上限)
3.牌照稅費用查詢方法
除了上述由財政部公告的牌照稅額級距表外,如果不是很確定自己的車輛屬於哪一個類別、排氣量多少的民眾,想要查詢牌照稅確切費用,其實也可以透過以下兩種方式來進行。
(1)查看牌照繳納通知書
每年4月牌照稅繳納前,車主都會先收到稅捐處寄來的牌照稅繳納通知書,上面就會明確地記載交通工具種類、排氣量、應繳費用、繳納時間等重要資訊。
牌照稅繳納通知書遺失怎麼辦?
繳納書遺失別擔心!你可以透過以下三種方式補發使用牌照稅繳款單:
- 稅額3萬元以下,可至四大超商操作事務機,申請補發稅單。
- 至財政部税務入口網,線上補發使用牌照稅繳款書。
- 撥打電話至地方稅捐處申請補發。
(2)線上查詢牌照稅
隨著數位時代的來臨,稅務作業也已經逐漸轉往線上化,民眾可至網路申報專區,以讀卡機登錄自然人憑證、健保卡或其他金融憑證,就能看到牌照稅費用的詳細資訊。

2026牌照稅繳納懶人包
三、2026牌照稅怎麼繳?幾月要繳?
牌照稅的繳納方式相當多元,繳款期限也相當寬裕、長達一個月。在納稅區間內,民眾都可以透過以下方式來進行繳款。
1.牌照稅繳納方式
牌照稅的繳納方式包括:
- 金融機構:持繳款書到可代收稅款的金融機構臨櫃繳納(郵局除外)。
- 四大超商:稅額3萬元以下,可至統一、全家、萊爾富及OK便利商店繳納。
- ATM繳納:不受稅額3萬元限制,全台各地ATM都可操作。
- 電話語音:撥打412-1111或412-6666(#166),並輸入信用卡或存款帳戶繳納。
- 線上繳納:至繳稅服務網,以信用卡或存款帳戶(須準備金融卡及讀卡機)繳納。
- 各銀行支付APP:使用台灣行動支付(台灣PAY)、簡單付(ezPAY),或其他提供線上繳稅功能銀行的APP,即可掃描繳款書QR-code,以信用卡或活存帳戶繳費。
- 電子支付帳戶:利用悠遊付、一卡通Money、橘子支付及嗶嗶繳,掃描繳款書QR-Code即可以綁定帳戶繳稅。
2.牌照稅繳納期限
機車及自用小客車的牌照稅開徵期間為每年4月1日至4月30日,營業用汽車(包括營業用小客車、大客車、大貨車等)則分為上下期徵收,上期為4月1日至4月30日,下期為10月1日至10月31日。
如果忘記在期限內繳納牌照稅怎麼辦?一但牌照稅超過繳納時限,繳款書的條碼就會失效,將無法再使用行動支付或到便利商店繳費,而只能持繳款書到金融機構臨櫃繳納。
四、牌照稅可以免繳或是減免嗎?
牌照稅有可能免繳或是減免嗎?答案是有可能的!我們將可免繳或減免牌照稅的族群整理如下,如果你剛好符合相關條件,就能幸運省下一筆開支!
1.免徵汽機車牌照稅
民眾如符合以下條件,即可享有免徵汽機車牌照稅的優惠:
- 持有150cc以下機車。
- 持有「全電能」的電動汽機車(不分用途,免徵牌照稅至2030年12月31日)。
- 離島小客車(2400cc以下)、小客貨兩用車。
- 已申報停駛登記車輛,停駛期間免徵牌照稅。
- 已申報遺失、報廢、受天災損害車輛。
小知識
隨著疫情解封,出國旅遊、洽公的民眾也越來越多。如果「超過一個月」沒有要使用車輛,可先向監理站申請停駛、回國後再復駛,期間的牌照稅和燃料費都能減免。
2.減免汽機車牌照稅
汽機車牌照稅的減免對象則包括:
- 具駕駛執照之身心障礙者,其所持有之車輛。
- 由無駕駛執照之身心障礙者本人,或其配偶、同戶二等親、法定監護人、法定輔助人所持有,並專供身心障礙者使用之車輛。
- 特殊用途交通工具,如軍用車、警備車、救護車等。
- 長期照顧特約或身心障礙特約交通接送車輛。
五、繳牌照稅有哪些注意事項?
牌照稅看似是單純的稅務項目,其實也可能隱藏著一些危機。我們整理了關於牌照稅的3個陷阱,繳稅時千萬要多加留意。

牌照稅陷阱包括:詐騙集團以郵件或簡訊謊稱退稅、遲繳牌照稅遭罰滯納金或被強制執行、交換使用牌照雙方都會被罰
1.郵件簡訊通知牌照稅退稅
近年有不肖份子看準「退稅」是由政府機關所發出,容易取信於民眾的性質,以郵件或詐騙簡訊誆稱民眾重複繳稅,並附上退稅申請連結,進而騙取帳戶及個資等重要訊息。稅務機關澄清,不管是繳稅或退稅,原則上都不會透過電子郵件或簡訊寄送通知(除非民眾主動申請)。如有疑問,請務必撥打電話與國稅局或地方稅捐處查證。
2.牌照稅遲繳遭罰滯納金
雖然牌照稅的繳納期間長達一個月,但若平時工作繁忙,有可能就會忽略了繳納牌照稅這回事。好事貸提醒,遲繳稅金可是會被加徵滯納金的!牌照稅只要遲繳超過3天,每3天就會被加徵1%的滯納金。當達到10%滯納金上限(也就是遲繳30天),就可能會被強制執行,千萬不可輕忽!
3.出借車牌當心避稅不成遭罰
車牌就是汽車的身份證,稅務機關也是按著這些身份類別,來決定是否要課徵牌照稅、稅務級距是多少;因此,若登記與實際使用情形不符,就可能會被取消免稅優惠,甚至出借跟借用雙方都會因此遭裁罰。此外,汽車或車牌失竊時除報警,也要記得申辦失竊註銷登記,不僅可終止計稅、退回已繳的未用稅款,也能避免上述情形發生。
六、其他牌照稅相關Q&A
- 不繳牌照稅會怎樣?
- 遲未繳納牌照稅,不僅會被依3天加徵1%的頻率徵收滯納金,超過30天未繳甚至可能將面臨法院強制執行。而若開上路被查獲欠稅,除了需要補稅,還會被處以應納稅額1倍以下罰鍰。
- 機車稅金幾月要繳?
- 若是150cc以下的機車,是不用繳交牌照稅的,151cc以上才要在4/1~4/30期間繳納稅款。此外,電動機車則不限排氣量,一律免徵牌照稅到2030年底。
- 牌照稅和燃料費,一年要繳幾次?
- 151cc以上機車,以及自用小客車,每年僅須於4月繳納牌照稅、7月繳交燃料費各一次。而營業用汽車(小客車、大客車、大貨車),每年則須於4月、10月繳納牌照稅共二次,並於3、6、9、12月繳納燃料費共四次。
七、附表
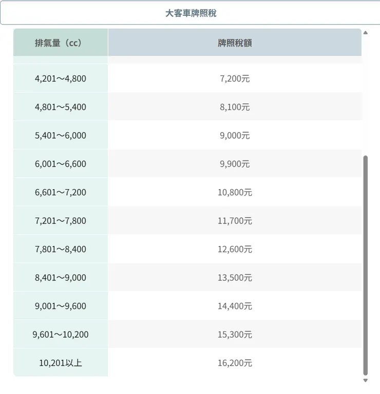
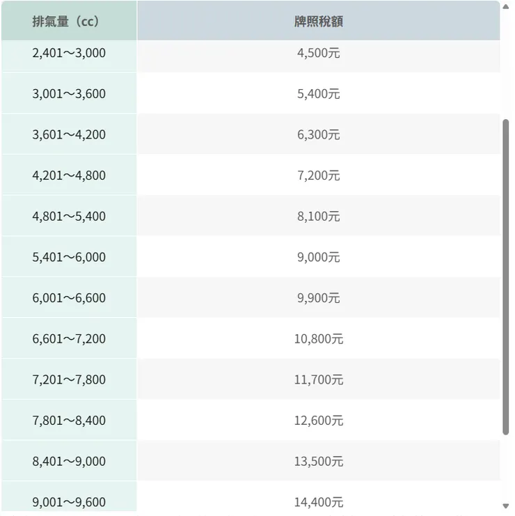
1.大客車牌照稅
大客車牌照稅

2.大貨車牌照稅

看完本文後,是不是更了解牌照稅的計算和繳納方式了呢?好事貸提醒,車輛若已不堪使用,或是需要長期停駛,一定要記得向監理機關辦理相關報廢或停駛登記,以免牌照稅持續計費。此外,也一定要記得如期繳納牌照稅,以免因小失大!



