上一篇,我們聊到公司組織型態的法規面(其實就是很硬的條文沒錯啦),這篇要來談談假如你今天要創業開啟新事業,你可以怎麼選擇你的公司型態。
25spout,旗下有大家普遍常用的:SurveyCake

iCHEF,旗下有大家耳熟能詳的:iCHEF餐飲 POS 系統。

開始之前,介紹大家一個好用的工具網站可以查詢公司的基本資料:經濟部商業司,商工登記公示資料查詢服務。只要是登記註冊在中華民國境內的公司,都可以從這個公開資料庫裡查詢公示資料,非常方便。
連結:https://findbiz.nat.gov.tw/fts/query/QueryBar/queryInit.do
讓我們開始吧!
一、25sprout
公司基本登記資料如下:

公司名稱:新芽網路有限公司
代 表 人:劉邦彥,Alex Liu
資本總額:新台幣20萬元
設立日期:2012/4/10(牡羊座)
最後核准變更日期:2019/4/3

登記董事:劉邦彥

從歷史資料可以看到,25sprout 從未變更過登記資本總額及負責人,只有改變過登記地址。
從以上資料中我們可以推敲出幾件事:
1. 25sprout 沒有增資過,就維持一模一樣的資本額從2012年一路到現在,從網路上也沒有查到 25sprout 有成功融資的新聞。
2. 25sprout 旗下產品營收及金流應堪稱穩定,從 25spout 在 Yourator 的招募廣告中可得知,25sprout 約有 55 名左右的員工,再加上資訊軟體業主要人力都集中在工程師的狀況下再外加其他開銷,每月現金流出應至少達新台幣 400 萬,在不進行增資的狀況下,意即 25sprout 本身即可自給自足。

3. 2019/4/3 25sprout 發布新聞稿,宣布進軍歐洲市場,代表其營運狀況日趨佳境。
4. 25sprout由 Alex(劉邦彥) & Thundersha(郭育廷) 共同創辦,在股權從未變更的狀態下,可合理推測 25sprout 股東結構單純,Alex 經營角色地位穩定。
從公司型態來說,新芽網路有限公司是「有限公司」。搭配前篇所說,還記得有限公司的決議方式嗎?至少都是得過半數甚至到 2/3 以上股東同意才有辦法進行公司重大事項的決議及變更,假設 25sprout 由 Alex & Thundersha 共同持有,未有其他股東的狀況下,25sprout 在進行所有決議時都得是 Alex & Thundersha 的共識決無一例外。
然而,「假設」 25sprout 因為增資等種種因素,讓股東人數增加,重大事項的決議過程便會更加複雜。切記,有限公司股東會的表決是採人頭計算而不是出資額多寡,慎選股東在有限公司架構下顯得非常重要。
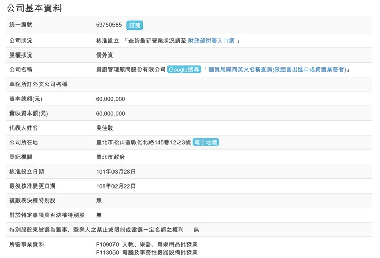
二、iCHEF
公司基本登記資料如下:

公 司 名 稱 :資廚管理顧問股份有限公司
代 表 人:吳佳駿
登記資本額:新台幣 6000 萬
實收資本額:新台幣 6000 萬
設立日期:2012/3/28(牡羊座)
最後核准變更日期:2019/2/22

董事長:英屬開曼群島商 iCHEF CO., LTD.,法人代表 吳佳駿
董 事:英屬開曼群島商 iCHEF CO., LTD.,法人代表 程開佑
董 事:英屬開曼群島商 iCHEF CO., LTD.,法人代表 何明政
監察人:英屬開曼群島商 iCHEF CO., LTD.,法人代表 郭庭魁

洋洋灑灑這麼多變更資訊,就幫大家整理個彙總表好惹。

再配上 Wikipedia 所述的 iChef沿革,我們可以知道 iCHEF 大概歷經過許多新創都會發生的事件:
1. 組織變更
由有限公司變更為股份有限公司,從公司變更登記歷程可得,主要是為了增資需求。
2. 增資發行新股
在 104 年 10 月、105 年 3 月、105 年 5 月、106 年 2 月皆發生了較大規模的增資發行新股,對應 Wiki 上的沿革表可知,104 年獲得全聯董事長林敏雄的投資,105 年獲得之初創投、中信創投及中華開發的投資。
3. 股權架構轉換
104年1月,資廚管理顧問股份有限公司股份全面更改由英屬開曼 iCHEF 所持有,這個時間點與全聯董事長林敏雄投資 iCHEF 相符。
4. 公司負責人及董監異動
iCHEF 一開始由徐安昇(徐重仁之子)所創,而後歷經徐重仁入主 iCHEF,且因股權結構變更由海外控股公司所持有,中間不斷歷經台灣境內公司負責人更動,直到 106 年徐重仁辭去 iCHEF 海外控股公司董事長為止,而境內公司負責人及董監仍異動頻繁。

透過以上兩個公司型態差異很大的案例,想說明一個重要觀念:
公司該成立怎樣的型態,取決於當下何種是對公司的經營現況是最有利的。
對 25sprout 來說,從成立之初到現在都維持有限公司且資本額20萬的狀態,依舊可以長成 60 人公司且營收跨足海外市場;對 iCHEF 來說,公司規模 70 人,但股份融資金額已達美金 700 萬元(折合新台幣約 2.2 億),主要是因為 iChef 除人力資源等投入成本高外,另外 POS 機等額外的資本支出相較也較高。考量融資需求, iCHEF 也及早將公司型態從有限公司變更為股份有限公司,主要仍是因股份有限公司彈性較大,適合需要進行股份融資的新創們。
換句話說,有限公司、股份有限公司等不同的公司型態,並沒有本質上的優劣之分,更絕對沒有新創一定要設立股份有限公司的道理。反之,需要從自身的產業性質、發展策略,乃至融資、募資需求來提早規劃。要做到這點,就得更加熟悉不同的公司型態的優缺點,才能做出對公司最好的選擇。
那麼下一篇我們會談對新創來說最難的一件事,怎麼找資金。























