前言
9月份又到了00713除息的月份,去年黑馬ETF-00713曾經贏過大盤及0050的輝煌戰績,如今本月再度公告配息了,每股配0.84元,它也是我的持有標的物,只是手中沒這麼多張而已,但它去年開始定期定額買,所以帳面上也是有不錯的成績單,它為何如此吸引我?就繼續看下去吧!
00713:臺灣指數公司特選高股息低波動指數
成份檔數:50檔股票組成
產品特色(以下由元大官網所述)
- 指數編製規則:從台灣前250大市值公司股票利用高股利、營運穩定、高權益報酬率(ROE)與最小波動投組配置。
- 「高股息、高品質」追求長期現金股息與資本利得並重的投資策略。
- 「低波動」股票在空頭市場可獲得相對較佳的報酬,多頭市場亦有較多機會優於大盤指數的報酬。

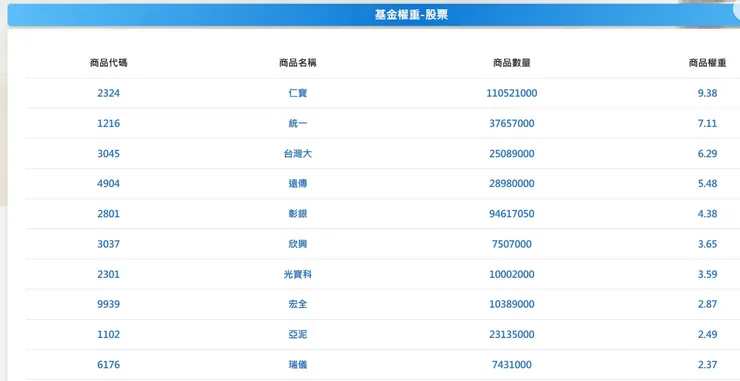
由元大官網截圖,前10大權重,純粹分享給各位了解
------------------------------------------------------------------------------
分享心得
當初吸引我買也是在youtube理財節目看到它的存在,因為去年常有節目把00713與00731比較,因為這兩檔總是提出高股息及低波動同時要有,當時手頭真的所剩無幾,只能說00731股價比較貴,所以我持有00713到現在,當然這真的不是選ETF邏輯,只是當你手頭資金不夠時候,真的不能看碗內吃碗外的概念,等累積有小成後,再多養母雞生小雞,這才是投資的概念!
去年底我印象它剔除卜蜂還有一些傳產股時,其實也被人家反彈,畢竟傳產比較抗跌,殊不知今年AI火熱,它也漲了一波,仍有46-47元/股,而6月份高歌離席緯創、英業達後,一度以為股價會影響,到今天仍在47.61元/股,不得不說經理人的頭腦,我們真的是望塵莫及。
投資ETF真的要無煩惱,真的選定龍頭公司後,就放心把錢交給公司去營運的概念,至於是否會影響行情還是甚麼特殊情況,似乎我們也不須擔憂,畢竟時間到了,汰換強弱就是ETF的本分了,不都是這樣。
結論
但我不得不說我也有做過錯誤的判讀,畢竟是人不是神麻,但我停損的條件很簡單,台股去年跌到萬2-3,今年都萬6-7了,有些持有股沒漲上來的,我覺得這就是我段捨離的條件,就算是ETF也一樣,雖然很多留言說逢低加碼買可以均化金額,但無法上漲的我覺得就是不該繼續放著(以上為我的投資心得,僅共參考)
持續為投資而努力,你/妳做到了嗎?

























