小茹口袋中4檔高股息ETF,真正存了比較久的ETF是00878與00713,兩者都是大約2022年10月買進, 00878前陣子因為搭上AI股熱潮,從16元狂漲至22元後又跌破20元,而00713從40元陸續買進,股價已經漲到46元,兩者比較結果竟然是00713報酬率11.62%大勝00878報酬率4.88%,投資就是如此奇妙,不到最後永遠不會結果會如何?
一、00713基本資料
00713基金簡稱: 元大台灣高股息低波動ETF基金。
掛牌日期:2017/9/27(上市6年),掛牌價格:29.82元。
經理費:0.30%、保管費:0.035%

元大投信
二、選股邏輯
追蹤臺灣指數公司特選高股息低波動指數為臺灣指數股分有限公司所編製,是一檔投資臺灣證券交易所具高股息及低波動股票。
標的指數編製規則依多項財務指標及市場曝險因子篩選出的高現金股利股票組合,再經最小變異數法優化權重分配以降低指數波動度等篩選標準, 最後挑選出 50 檔股票所組成。
簡單來說:追蹤「台灣指數公司特選高股息低波動指數」,該指數從「股利、基本面、獲利能力、營運現金流、波動度等」綜合計算。
小茹觀點:原本以為高股息低波動選出的股票,報酬率會是普通而已,而經過6年的時間驗證,不僅有高股息而且資本利得價差也很不錯。
三、成分股
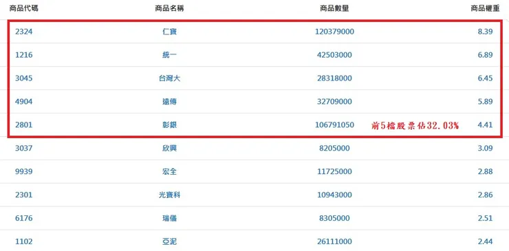
光是前5檔股票,仁寶、統一、台灣大、遠傳、彰銀就佔投資比重32.03%。

資料來源:元大投信
前十大成分股佔投資比重45.81%,2023年10月底初估價差的部分就大賺約129.95元。

資料來源:元大投信&交易所
四、配息來源組成
2023Q3股利0.84元,可以看出配息主要來源是財產交易所得(價差)與股利及盈餘所得佔8成4比例,而收益平準金只佔13.94%,比例不多。
收益平準金就是為了避免稀釋掉原先買進受益人的股息,以及對於除權息旺季後才買進的投資人所設計的公平機制。
因為00713已經成立6年以上,早期投資的人佔大多數,所以後期投資的人並非很多,因此收益平準金比00878少很多,介意配息是左手換右手的人,反而不用太擔心。

元大投信
五、00713VS.加權指數
2023年 00713 漲跌幅+26.7% > 加權指數漲跌幅+15.71%。
2022年 00713 漲跌幅-13.94% > 加權指數漲跌幅-22.4%。
00713是一檔多頭與空頭都表現相當優異的高股息ETF。

GOODINFO
六、00713合理價
ETF與一般股票不同,除了市價外,還有一個「淨值」的價格,而淨值才是此檔ETF真正的價格。
因此在判斷要買進ETF的合理價格,就要在ETF折價買進,才是便宜價格。
範例:





















