這是我的cmoney連結,歡迎追蹤按讚:
https://fourm.page.link/U5ew
一、 何謂指數?
二、 指數如何投資?
三、 指數的歷史績效?
四、 指數與個股的差異?
五、 指數的衍生性金融商品?
六、 指數的投資技巧?
七、 指數現在該如何做?
一、何謂指數?
股神巴菲特說「透過定期投資指數型基金,一個什麼都不懂的業餘投資者竟然往往能夠戰勝大部分專業投資者」;另一位投資天才彼得・林區也說過,大部分投資者投資指數型基金會更好些。
金融市場上有各式各樣的指數,美股四大指數為道瓊、那斯達克、標準普爾500及費城半導體指數,其他指數例如油價浮動指數、通膨指數、房價指數等。
這些指數的實際計算方式,是根據特定的選擇股票方法,再加以進行統計上的計算,所得出來的一項數值。
指數白話的說,就是「以數字表示某一領域的大部分表現」。
例如肝功能指數(GOT、GPT),一般人並不一定要了解裡面的細部意義,只要知道肝功能指數過高,出現紅字,就是肝有問題。
例如身體質量指數(BMI),就是體重(公斤)除以身高(公尺)的平方,得出來的數據,一般人並不需要細部的理論,只要知道你的BMI如果介於18.5~24之間,體重就算正常,「太高」則是過重,「太低」則是過輕。
那麼用在金融市場上呢,就以最常見的台股大盤加權指數為例。
指數有其「選擇標的」及「計算方式」,例如BMI是選擇體重除以身高,單看一個數據就不夠全面,例如看一個人是否過重,不能只看體重或身高。
以台股大盤加權指數而言,係以台灣上市的所有股票市值加權計算出大盤指數,簡稱「大盤」或「指數」,投資人不一定要了解細部的計算公式,但是要留意重量級權值股。
其計算公式為:發行量加權股價指數 =(當期總發行市值 / 基值)× 基期指數
當期總發行市值為各採樣股票價格乘以發行股數所得市值之總和,因此,發行公司的市值愈高,占指數的權重就愈高,這就是典型的權值股。
發行量加權股價指數係以1966年為基期,基期指數設為100,其採樣樣本除特別股、全額交割股外,其餘上市股票均包括在內。
大盤指數每日交易時段(0900~1330),每5秒依上市公司市值加權計算而得,能夠一定程度的表彰台灣股市的表現,如果大盤漲,表示大部分的股票漲,或大型權值股表現好;如果大盤跌,表示大部分的股票跌,或大型權值股表現差。
如此,投資指數就不是投資單一個股,而是投資整體市場表現,或是投資該指數選股的策略及表現。
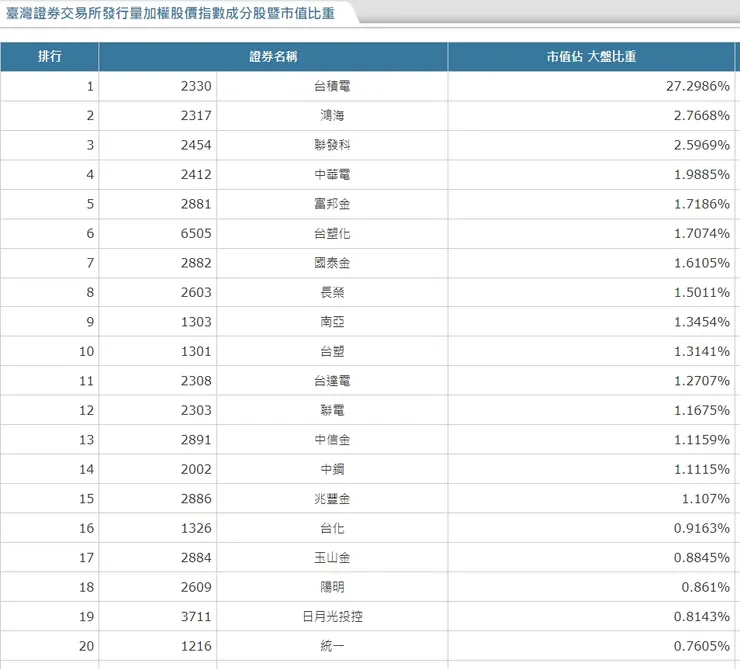
以台灣而言,0050已非常為人熟知,不需多做介紹,台灣50指數是選取台灣市場中市值前50大上市公司,依據「市值權重」編製而成的指數,上網搜尋就能查到細部分佈:

可以看到,光是前20名,就已經佔了大部分的權重,可以說100名以後的股票,對指數的影響力就小了。
而前10大權值股的漲跌,對指數起到一定的影響力。
光是一檔最重量級權值股「台積電」,就佔整體大盤的27%,光是拉或殺台積電,就足以影響指數。
第一課「何謂指數」大致說明到此。
這是我的cmoney連結,歡迎追蹤按讚:
























