單純分享投資觀念 沒有股票買賣建議
最近發現台積電竹科竹南園區先進封裝六廠有一張使用執照出爐,承造人是根基,所以比照之前整理台積電高雄楠梓園區和南科嘉義園區的方式,把台積電最大的竹南先進封裝六廠 AP6 也整理成本文
根基(2546) 9/24 收盤 73.9 元再創波段新低,如果從 5 月 132.5 元高點起算跌幅達 44% (忽略配息4+0.2元),可能有些投資夥伴已經放棄,我自己投資 4 年領 4 次配息總投報率跌破 100% 來到 89% 也有點失望,之前 5 月最高約 200%
在這個黑暗時刻如果你進來本文,多少表示對根基還抱有期待,畢竟這是一家過去 10 年總投資報酬率達 1000% 的優秀營造股(如下圖)

Tradingview
黑暗總會過去,對未來要懷抱希望的曙光
根基 2020~2023 EPS 分別為 5.91、6.98、8.98 和 8.2 元,但今年上半年只有 2.12 元,到底影響根基 EPS 最大的原因是甚麼?我認為是承攬的台積電廠辦
根基目前在建工程承攬的台積電廠辦涵蓋竹科、中科、南科和高雄楠梓產業園區,其中以竹科的竹南園區為大本營,因為 2022 以來承攬的 AP6B 先後有 CUP(已完工)、FAB 和 OFFICE,等於 AP6B 全包
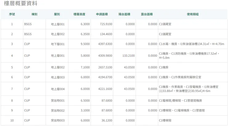
下圖是我之前挖財報整理出來的根基 2023 在建工程表,可以發現「101I」這個工程在 2023 一年貢獻 33.2 億營收,而在 2022~2023 這兩年合計貢獻 59.92 億營收、毛利率 9.3%,是一個金額非常大的案子,我認為它就是「AP6B FAB」;另外還有「111D」和「111E」分別為 AP6B CUP(已完工) 和 OFFICE。這張表僅供參考不一定對,等 24Q4 財報出來會再更新

作者提供
本文目錄:
- 已經完工的 AP6B CUP
- 整個 AP6 三期
- 那張「使用執照」
- 期待的爆發點
★舊文章↓
- 美科技股大跌台股也不好,我巡視根基承攬的 AP6B 工程結果|承熙 2023/10/27 投資週報 (2023/10/26)
- 根基廠辦工程又有進展|台積電楠梓園區建照整理 (2024/9/5)
- 台積電南科嘉義園區建照整理(2024/9/12)
已經完工的 AP6B CUP
先談 AP6B CUP,今年 1 月現場看時已經有漂亮外皮,沒看到起重機或塔吊,估計接近完工,如下圖 (左邊那台起重機是 for 粉紅色外牆的 FAB)

2024/1/25 拍攝
建照
再看建照,經查竹科管理局 AP6B CUP 的建照字號為 111-00006 號,有兩張,第一張承造人(營造廠)空白,是 2022/2/7 核發的,工程造價 0.96 億,內容是蓋 CUP、BSGS 和 Gu 三棟;第二張時已經可以看出承造人為根基,2023/4/7 核發的,內容改成蓋 CUP 和 BSGS 兩棟,應該是變更設計,工程造價增加至 1.04 億




使照
最後使照在 2024/2/20 核發了,工程造價 1.04 億。之前提過,工程造價不等同工程契約金額,後者通常是前者數倍至 10 倍,如果前面在建工程表的「111D」就是 AP6B CUP,兩年營收 10.31 億就當完工了即工程契約金額,則 10.31 億是工程造價 1.04 億的「9.91 倍」


接下來談整個 AP6,總共有 3 期:AP6A、AP6B 和 AP6C,我本來以為根基只承攬 AP6B,但好像不是這樣,新發現的使照不是 AP6B
整個 AP6 三期

作者提供
上圖是以土地使用分區為基底套繪整理的,圖正下方大黑框棕色的部分是竹南大同段 0672 地號,即 AP6B,我有標示「B」;而標示 A 和 C 是同一塊地號大同段 0671
在一個廠區(期)內,通常會有 CUP、FAB 和 OFFICE,從上圖可以輕易看出以 FAB 占地最大(金額也最大)
下面是 9/24 我在 Google 空照圖抓的,為方便對照一樣框起來

Google空照圖






















