單純分享投資觀念 沒有股票買賣建議
根基 (2546) 繼 8/2 下跌 5.66% 後,今天 8/5 跌停收在 81 元跌破年線,台股大盤 8/5 大跌逾 1800 點又創單日最大跌點、台積電大跌 9.75% 收 815 元。何時會止跌、反彈或回升不知道,身為長期投資者我仍專注於公司基本面,只要基本面沒問題,大跌應該是加碼的時機而不是退場

Goodinfo
根基 2024/4 法說會揭露的在建高科廠辦
如下圖所示

根基 20240426 法說會 p11
參考文章
目前承攬的高科技廠辦彙整|根基 ( 2546 ) 廠辦篇 1 (公開文,2024/3/10)
1、台積電 AP6B FAB + OFFICE 棟

來源 竹科管理局


- 建照:111 科工竹建字第 00008-05 號
- 總樓地板面積 24.2 萬平方公尺
- 工程造價 14.53 億
這是一件很大的案子,總樓地板面積超大、工程造價也不小。懶人包裡面有提過,工程造價不等於契約總金額,後者通常是前者的數倍,但數倍是幾倍呢?有沒有線索可以參考呢?
直接看洋基工程 (6691) 今年 4 月承攬的 ASML 林口園區 EPC 統包工程,根據重訊契約總金額為 98 億,而經查該案建照工程造價為 9.75 億,因此簡單推估「契約總金額為工程造價約 10 倍」


來源 新北市政府建管處
如果推估正確,則 AP6B FAB+OFFICE 棟的契約金額等於工程造價 14.53 億的 10 倍,即 145.3 億,這數據比之前我用總樓地板面積去算還大,但實際金額多少不知道。以下,我們統統用 10 倍的基準估算
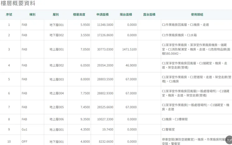
2、台積電 AP5B 土方擋土工程 + CUP 棟
第 1 張建照

來源 中科管理局
- 建照:112 中科中建字第 00012 號
- 總樓地板面積 15 平方公尺
- 工程造價 10.5 萬
這張是土方 + 擋土工程所以樓地板面積小,工程造價 10.5 萬的 10 倍是 105 萬
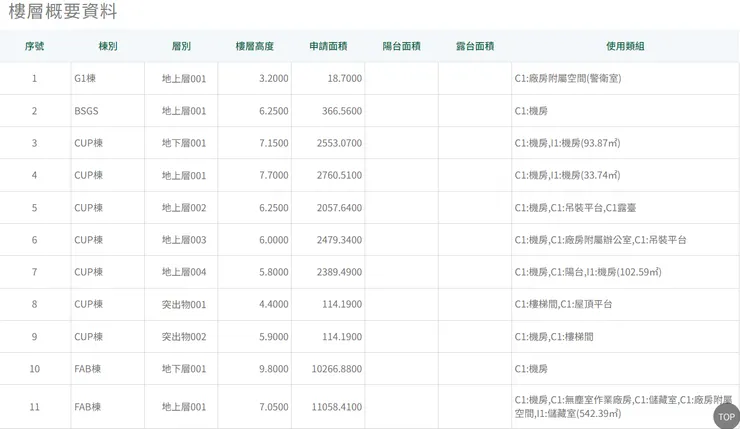
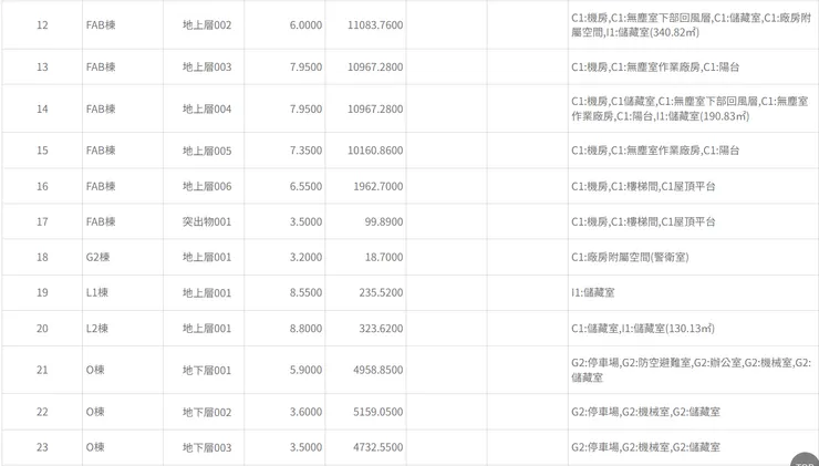
第 2 張建照


- 建照:112 中科中建字第 00012-01 號
- 總樓地板面積 1.28 萬平方公尺
- 工程造價 88.67 百萬
這張已經有 CUP + FAB,工程造價 88.67 百萬的 10 倍是 8 億 8 千萬
第 3 張建照


- 建照:112 中科中建字第 00012-02 號
- 總樓地板面積 1.29 萬平方公尺
- 工程造價 89 百萬
這張跟上一張差不多
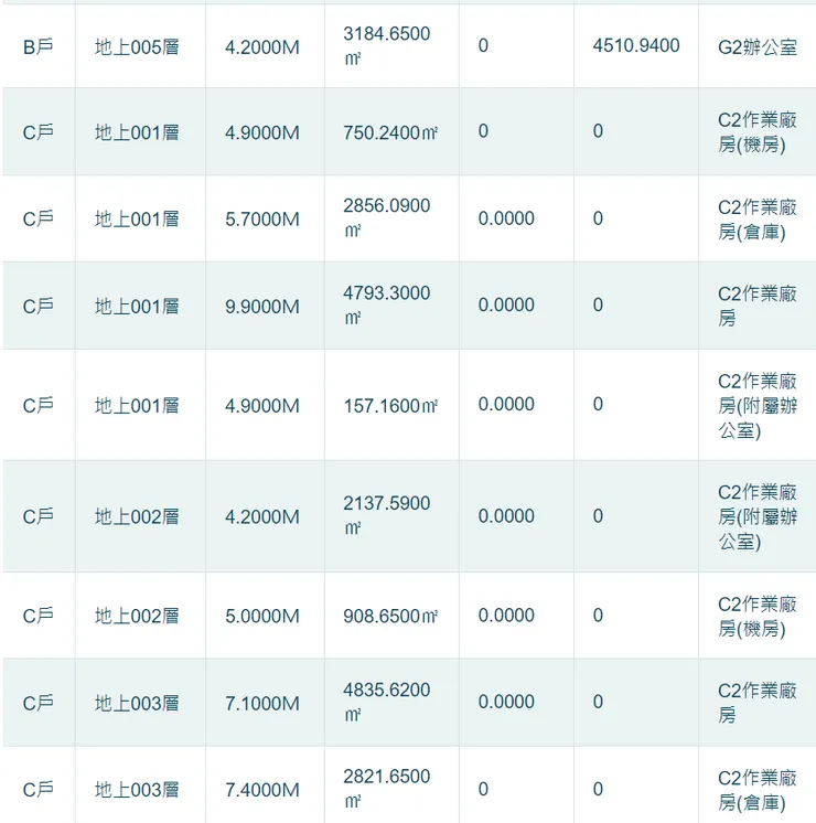
第 4 張建照




- 建照:112 中科中建字第 00012-03 號
- 承造人是:
麗明營造 - 總樓地板面積 10.9 萬平方公尺
- 工程造價 8.89 億
與上一張最大差異處有 3 個,一是承造人變成「麗明營造」,二是總樓地板面積增加為 8 倍,三是工程造價增加為 10 倍。同樣用 10 被推估,AP5B 契約金額為 88.9 億,這應該是指全部建物 G1、G2、BSGS (氣體供應)、 CUP、FAB、OFFICE、L1 和 L2 共 8 棟,然後根基與麗明共同承攬,至於根基占多少不清楚
3、ASML 林口園區統包案

來源 新北市政府建管處






- 建照:113 林建字第 00127 號
- 承造人是:根基營造
- 總樓地板面積 8.39 萬平方公尺
- 工程造價 9.75 億
本案比較特別,按照重訊洋基是本案 EPC 統包商,但建照承造人寫的是根基,而根基自己重訊說承攬土建約 54 億,由此可見:即使工程造價乘以 10 倍等於契約金額的推估正確,也不代表承造人 (營造廠) 把錢全拿,還要看類型
另外,本案坐落新北市的緣故可以查詢施工進度,經查 2024/5/2 申報施工勘驗放樣已經核准,又 6/11 申請變更建照待審中,變更甚麼地方等核准後就能知道


4、聯發科銅鑼園區廠房第一期

來源 竹科管理局

- 建照:112 科工竹建字第 00039-1 號
- 總樓地板面積 2.17 萬平方公尺
- 工程造價 1.37 億
本案根基重訊契約金額約 10 億,是工程造價的「7.3 倍」,由此可知倍數沒有規律,暫且先抓 7~10 倍
講到銅鑼園區,下面兩張是竹科管理局的銅鑼園區地圖,分別是 2023/12 和 2024/2 的版本,比對後發現新版左下角「工 18」上方的空地已經寫上「聯詠」(3034),再查聯詠 4 月重訊通過興建銅鑼科學園區第一期研發運算中心大樓金額 8.55 億,契約相對人待日後公告。聯詠的案子比較小,不知道根基會不會出手

來源 竹科管理局

結語
- 股市大跌對長期投資者不見得需要擔心或賣股,反倒可以考慮進場或加碼,不是有句話說別人恐懼我貪婪嗎,建議做好資金控管量力而為;希望以上的資訊分享能讓你增加一些信心,祝大家都能撐過去
- 科學園區查建照蠻有意思的,例如台積電在竹科寶山近期有一張建照很大,是由達欣工(2535)承攬,身為根基股東我雖然有點酸溜溜,但還是祝福達欣工施工順利以及股東賺錢啦
- 上週這篇文章提到根基可能再拿下一個廠辦案,我看後台有幾十個人點擊付費牆應該很有興趣,我會繼續追
















