單純分享投資觀念 沒有股票買賣建議
根基在 2024/10/15 召開今年第二次法說會,本文將分享法說會重點以及個人看法,僅供參考
本文目錄
- 法說會亮點 1:關於新承攬的台積電嘉義 AP7P1 FAB
- 法說會亮點 2
- 隱憂
法說會亮點 1:關於新承攬的台積電嘉義 AP7P1 FAB
昨(15)天法說會召開之前,我在公司官網找到董事會 8/9 決議事項中有「取得台灣積體電路製造股份有限公司標案(追認)」,追認是指過去的事,後來也發現經濟日報 9/4 新聞〈根基營造 打造護國神山企業堅實堡壘〉說到:「 8 月根基營造也取得位於嘉義科學園區的廠辦新建合約」,兩者所指應該是同一工程

根基公司
這個工程應該也就是根基 10/15 法說會簡報揭露新承攬的:台積電嘉義 AP7P1 FAB 工程

法說會簡報 p12
後來我在臉書分享,承攬 AP7P1 FAB 與我方格子這篇〈台積電南科嘉義園區建照整理〉的推測相符。但經過一天思考,事情可能不是全然如此,但拿下新案肯定是好事
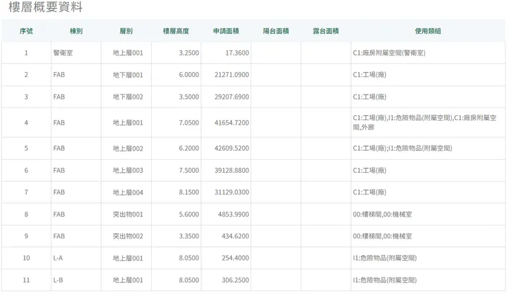
前文說台積電嘉義園區「00008-02 號建照之後如果換手給大一點的營造公司,也不代表一定由根基承攬,就繼續看下去囉。我自己是覺得根基承攬機會很大」。按照 00008-02 號建照所載 FAB 樓地板面積約 21 萬平方公尺、是地下 2 層至地上 4 層,如下圖,但根基法說會揭露 AP7P1 FAB 的樓地板面積為 11 萬差了 10 萬平方公尺、是地下 1 層地上至 4 層差了 1 層,兩個 FAB 並不相符


再對照之前整理的嘉義園區建照,一期 FAB 的建照還沒核發、截至撰文的 10/16 也沒有

作者提供
所以我再簡單推測,法說會揭露的 AP7P1 FAB 近期內建照即將核發下來(台積電已經先與根基簽訂承攬契約),如果是這樣,那 P2 FAB 還有機會由根基拿下;但也可能法說會指的就是 00008-02 建照的 FAB,那麼便是田鼎與根基共同承攬,但我認為機率不大就是。總之,根基確定拿下 AP7P1 FAB,至於 P2 FAB 會繼續追蹤






















