單純分享投資觀念 沒有股票買賣建議
過去的文章:
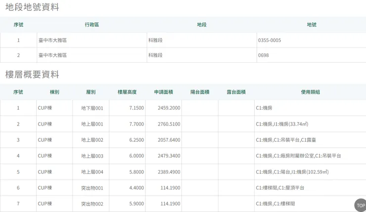
AP5B CUP
現場照片

作者提供
換手機後今天拍照清楚很多,漂亮外皮這棟應該就是 CUP,從使用執照存根來看樓地板面積為 12,374 平方公尺、工程造價 0.85 億,相較於 AP6B CUP 的 20,852 平方公尺和 1.04 億略小,畢竟基地本來就小了 1 萬平方公尺 (工程造價不等於承攬契約金額)
使用執照

中科管理局

其他
疑似 FAB
雖然根基只承攬 CUP,還是看一下 CUP 以外的建物,下面可能是 FAB,夾在 CUP 和 AP5A 兩棟中間那棟。今天看外牆已經封起來,上次看還有洞,感覺 FAB 在 2025H1 會完工

作者提供
疑似 OFFICE
在 AP5A 旁邊,看起來地工階段快完成了

作者提供
綠地
從東大路轉進科雅六路左手邊是綠地,地號為 326,這不是 AP5B 的基地範圍,一開始我以為未來這塊綠地也會劃入 AP5B,但一直沒有動靜,今天看地面有覆土,不知道是要幹嘛

中科二期擴建台積電預計建廠模擬圖
之前 PO 過,台積電預計蓋 4 座(期)廠,但明年會怎樣蓋還不一定,9/12 新聞說「協議價購的土地面積已達95%,全案預計年底完成價購,明年第1季交地供台積電建廠」,今天經過高爾夫球場沒有拆除整地的動作,
在想明年要怎麼巡這裡,這裡比都會公園的 88 公頃還大,將來應該是整個從最外圍圍起來,要拍照就麻煩了,從地勢低的東大路拍不到裡面,或許要從地勢高的都會園路下手。總之二期擴建很大,根基有機會繼續承攬,這裡將是根基 2025 起的重點之一

中科年報
























