單純分享投資觀察 沒有股票買賣建議
根基(2546)即將於 5/9 公布 25Q1 財報,我推估 EPS 介於 2.12~2.74 元,等開獎就知道,本文將分享推估的原因以及閱讀股東會年報後的心得
推估根基 25Q1 EPS 2.12~2.74 元

作者提供
根基 25Q1 營收 39.3 億創同期歷史新高,有好的開始,上表除了毛利率其他欄位都是以過去數值抓個大概,關鍵的毛利率有 4 欄,代表涵義如下:
- 15.9%:參考單季最高的 21Q2
- 12.93%:參考 24Q4
- 11%:24Q4 及 24Q3 的平均
- 10%:直觀把 11% 減去 1%
即使 10% 也不算低,這次 25Q1 毛利率之所以抓比較高,主因承攬的台積電 AP6B-OFFICE 在 2/24 領到使照,而 AP6B-FAB 也在去年 12/3 領到使照,後者應該還有款項遞延至今年認列,這從根基最近在 104 人力銀行徵才「現場工程師 (竹南_FAB)」,工作內容為「成廠工項修繕、配合業主驗收」可知

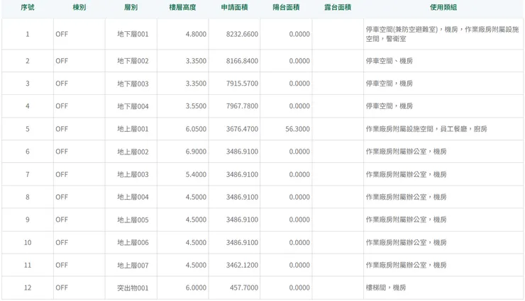
AP6B-OFFICE,竹科


AP6B-FAB,竹科


104
以上推估僅供參考,靜候開獎。下面透過股東會年報進一步分享我認為重要的東西,投資根基邁入第 5 年,我對股東會年報的重視不亞於財報,特別是質化的東西財報不會有
歡迎參考「我的沙龍付費訂閱簡介」
歡迎購買根基懶人包,一份 200 元,你買書、我捐款。懶人包是一份 3.5 萬字的 PDF 檔 + EXCEL 檔的電子書,是我過去 5 年投資根基的心得,內容白話說明。EXCEL 是我平常追蹤用的,購買後你可以自行更新
☆ 近期公開文
觀察股 2025/3 營收,川普關稅髮夾彎|國統、根基、洋基和潤弘
☆ 近期訂閱文
證券開戶推廣
★ 犇亞證券:最高享手續費抵用金 3,600 元,開戶優惠活動至 2025/7/31 止
犇亞(鑫豐)證券是我用最久的帳戶,台股交易手續費 1.8 折,目前開戶有獎勵活動:
任務 1:開戶完成贈 1,800 元手續費抵用金
任務 2:兩週內加開信用戶,加贈 1,800 元手續費抵用金
手續費抵用金之使用期限自開戶成功日起開始計算 6 個月內使用完畢,詳細介紹請以公司官網說明為準
★ 國泰證券:開戶領 300 + 首次交易領 200 共 500 元商品卡
國泰證券也是我常用帳戶,台股交易手續費 2.8 折,有借券、免費匯撥股票及定期定額美股等功能,長期投資的股票可放在國泰領借券利息,目前開戶有獎勵活動,只到 2025/6/30 止
▲ 借券:把股票出借給有需要的人,出借期間可以領利息,例如我之前的根基
▲ 股票匯撥:把 A 帳戶的股票匯到 B 帳戶,這樣就不用 A 帳戶先賣出 B 帳戶再買回的意思,參考這篇



























