單純分享投資觀察 沒有股票買賣建議
觀察中的營造(工程承攬)股全部都是前 4 月累計營收創歷史新高,這是過去以來持續累積在手訂單去化結果所致,另外台積電 5/13 重訊通過機器設備、不動產及資本化租賃資產資本預算案,從名單可以看到過去的常客,包含本專欄有觀察的根基、洋基工程和潤弘

台積電5/13重訊,觀測站

名單中有根基、潤弘,當然還有達欣工

有洋基工程
本專欄每月營收文章為公開,至於財報、年報和法說會等資訊則是訂閱專屬,讀完本文如有興趣進一步了解,歡迎訂閱支持,半年 450 元,我的沙龍付費訂閱簡介
☆ 近期公開文
觀察股 2025/3 營收,川普關稅髮夾彎|國統、根基、洋基和潤弘
☆ 近期訂閱文
根基 2025Q1 財報分析|EPS 1.53 元創同期新高、在手訂單逾 800 億續創高
國統 8936

Goodinfo
2025/4 營收 5.09 億年增 39.1%,前 4 月累計營收 18.6 億年增 23.2% 創新高。4 月營收成長幅度並不如〈國統 2024/9/11 法說會|枯水期將至,預計的營收明顯成長點〉說的具有爆發性,這點在 3 月營收文有提到「應該會遞延到 5 月(含)以後」,根據水利署截至 4 月底的資訊,國統 2024 新取得的三大工程進度如下:
- 台南海淡廠(一期)統包工程:總計畫實際進度 4.34%、大地工程細設預計 5 月底前核定,
2025 目標為 (1) 5 月完成大地工程細設 (2)7 月工程實質進場 - 新竹海水淡化廠輸水管線及受水池統包工程:2024/8 開工、實際進度 2.9%、2025/2/20 核定基設,另分段辦理細設,4/11 明挖段細設審查核定,
目前申請路證和備料中,5 月 10 日進場 - 石門水庫至新竹聯通管跨河放水段工程:2024/8/20 開工,實際進度 1.96% 超前 0.24%
這樣看下來,台南海淡廠統包工程預計 7 月施工、新竹海淡廠管線及受水池 5 月施工,而跨河放水段資訊有限看不出來。另之前招標的台南海淡廠受水池統包工程進度為「已於 4 月 30 日召開評選(評分及格最低標)」,5 月可能決標。國統如果得標(不知有沒有投)就看公司重訊,若沒有就等採購網決標公告。決標和決標公告不同,後者可能晚前者幾個禮拜

國統 Q1 財報 5/9(五) 盤後已公布,EPS 0.74 元、毛利率 25.16%,兩項都沒讓我驚訝,要習慣毛利率 30% 以下的狀態,股價在 5/12、13 兩天累計上漲約 4%。財報電子檔已上傳觀測站,看完後會專文分享。
這裡提一下「國統與新建(2516)」的事。國統入股新建,公司說法是「替未來雙方的合作帶來雙贏共好的局面」,而根據國統近期上傳的 2025 股東會議事手冊,會議討論事項有「修訂公司章程部分條文案」,目的是為了「配合公司營運狀況調整」,所以擬修訂營利事業項目,新增「住宅及大樓開發租售業」、「特定專業區開發業」和「投資興建公共建設業」等 7 項,如下圖

國統2025股東會議事手冊資料 p8

p32
新增的前 3 項感覺是「要當營建商」,或許可以由國統當資金方、新建當營造方這樣。從項目內容可知開發方向涵蓋民間建築及公共工程很廣泛,但市場上營建商營造廠那麼多,這樣有利可圖嗎?這點留待財報文再聊
根基 2546

2025/4 營收 16.2 億年增 43.3%,前 4 月累計 55.5 億年增 34.4% 創新高。公司於 2024/10 法說會表示 2025 預計有 12 案會完工,估計全年營收有機會挑戰歷史新高。從 Q1 財報來看,毛利率 7.96% 只能算普通,也因此導致 EPS 只有 1.53 元,EPS 雖然創同期新高,但 5/12 股價下跌 -2.92%、5/13 上漲 0.88%,市場情緒對於 Q1 的表現是失望的

Goodinfo
關鍵還是在毛利率,整理財報數據後發現,25Q1 內案佔營收比例 17.01% 是過去以來的低水準,照理毛利率應該會比較高(因為內案毛利率低於外案),結果只有 7.96%,如下表。我認為毛利率 Q2 起可能會改善,這是整理完公開資訊及下表後的結論,就等 Q2 吧,此外截至 Q1 在手訂單總額 822 億又創新高,都快追上潤弘 1000 億囉 (根基25Q1財報文)
證券開戶推廣
★犇亞證券:最高享手續費抵用金 3,600 元,開戶優惠活動至 2025/7/31 止
犇亞(鑫豐)證券是我用最久的帳戶,台股交易手續費 1.8 折,目前開戶有獎勵活動:
- 任務 1:開戶完成贈 1,800 元手續費抵用金
- 任務 2:兩週內加開信用戶,加贈 1,800 元手續費抵用金
手續費抵用金之使用期限自開戶成功日起開始計算 6 個月內使用完畢,詳細介紹以公司官網說明為準
★國泰證券:開戶領 300 + 首次交易領 200 共 500 元商品卡,開戶優惠活動至 2025/6/30 止
國泰證券也是我常用帳戶,台股交易手續費 2.8 折,有借券、免費匯撥股票及定期定額美股等功能,長期投資的股票可放在國泰領借券利息,目前開戶有獎勵活動
▲借券:把股票出借給有需要的人,出借期間可以領利息,例如我之前的根基
▲股票匯撥:把 A 帳戶的股票匯到 B 帳戶,這樣就不用 A 帳戶先賣出 B 帳戶再買回的意思,參考這篇
承熙個人經驗分享:犇亞 + 國泰兩帳戶都開,用犇亞交易台股後,將長期投資的股票匯撥至國泰設定借券領利息
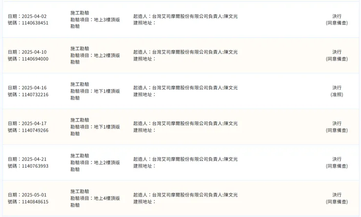
洋基工程 6691


觀測站
2025/4 營收 17.1 億年增 79%,前 4 月累計營收 56.6 億年增 52.5% 創新高,對於營收成長公司說法是「正在投入進行的專案較去年同期增加所致」。專案的話我選擇看洋基與根基共同承攬的 ASML 林口廠統包工程,5/1 已施工勘驗到 4F,本案是 2 幢 3 棟地上 6 層地下 2 層,因此勘驗資料會重複出現樓層,但其實是不同棟

新北建管處
潤弘 2597

潤弘

潤弘子公司潤泰材

潤弘子公司潤德
2025/4 營收 23.4 億年增 17.3%,前 4 月累計營收 85.3 億年增 16% 創新高。同步觀察潤弘子公司潤泰材 4 月營收 5.93 億、前 4 月累計營收 23 億創新高,潤德 4 月營收 2 億創次高、前 4 月累計營收 7.76 億創新高,可知潤弘創高子公司也有不小功勞
潤弘 5/13 召開股東會,會後董事長表示「因美國新任總統川普的上任,全球將面對地緣政治等不確定經濟衰退風險;不過因AI等新興科技需求持續暢旺,有效提振我國出口及生產動能,並帶動國內半導體建廠,有助於營造同業的表現,認為今年潤弘營運目標仍將持續維持正成長。」(新聞) 新聞還提到「2024年新承攬工程共有17個,其中光是包括T新竹兩廠等工程就有9個建案」,這點從公開資訊就能看出來,這篇文章有詳細說明
公司預計 5/14 公布 Q1 財報,近期股價表現並不亮眼,或許與潤泰雙雄有關(?),但潤弘本身並沒有問題,過去我有少量進場,等財報公布再專文分享



























