單純分享投資觀察 沒有股票買賣建議
本專欄每月營收文章為公開,至於財報、年報和法說會等資訊則是訂閱專屬,讀完本文如有興趣進一步了解,歡迎訂閱支持,半年 450 元,我的沙龍付費訂閱簡介
☆ 近期公開文☆ 近期訂閱文
北高雄海淡廠最新進度及預計完工時間|中鼎蒙塵之後國統更為有利?
潤弘 2025Q1 財報|毛利率同期新高、在手訂單 960 億、外案金額創新高
國統 8936

Goodinfo
2025/6 營收 4.45 億年增 -28.3%,前 6 月累計營收 27.6 億年增 5.57% 創新高。6 月營收成長性依舊不如預期,而 7 月應該也不用太期待,因為丹娜斯颱風 7/6 登陸南台灣以及之後連續數日豪大雨致災,國統部分工程可能受到影響。國統三大工程進度的部分,撰文時水利署資訊還停留在 5 月就不更新了
半年已經結束,統計今年新增訂單根據 6/5 法說會揭露,金額為 0.13 億,相較 2024 的 257 億差距超大,原因一方面是政府標案釋出量不像 2024 那麼大,另方面可能是公司出標比較謹慎
近期公共工程標案方面,有 3 件再生水廠,如下圖:
- 桃園市龜山區文青水園再生水統包工程(第一期):預算金額約 13 億,公開招標 6/23 截標
- 臺南市永康水資源回收中心及再生水廠新建工程-第二期(2萬噸):約 4.6 億,5/5~5/12 公開展覽
- 臺南市安平再生水廠新建工程案統包計畫-第二期(6萬噸):約 13.8 億,5/5~5/12 公開展覽

採購網
希望這 3 件標案能傳出好消息,即使都得標今年新增訂單也就那樣了,重點在現有工程的順利執行,以及替將來海淡廠得標加分的滷水再利用技術順利研發
根基 2546

2025/6 營收 20.1 億年增 69.3% 創歷史次高,前 6 月累計 92.8 億年增 42.6% 創新高。之前預測 Q1 有可能「部分金額尚未結算認列」,會遞延到 Q2,如果是這樣那麼毛利率也有機會較 Q1 (8%) 來得好,就等財報公布吧
根基過去年營收天花板約 142~143 億,今年上半年已經快 100 億,沒意外的話會創新高。營收有多高不是重點,重點在利潤(率)有多高,如果內案的營收占比過大會影響 EPS,畢竟內案外案毛利率差距最高可達 6~7 倍
我投資根基的心得有整理成電子書,歡迎參考選購,每份 200 元,你買書,我捐款
證券開戶推廣
★犇亞證券
最高享手續費抵用金 3,600 元,開戶優惠活動至 2025/7/31 止
犇亞(鑫豐)證券是我用最久的帳戶,台股交易手續費 1.8 折,目前開戶有獎勵活動:
- 任務 1:開戶完成贈 1,800 元手續費抵用金
- 任務 2:兩週內加開信用戶,加贈 1,800 元手續費抵用金
手續費抵用金之使用期限自開戶成功日起開始計算 6 個月內使用完畢,詳細介紹以公司官網說明為準
洋基工程 6691

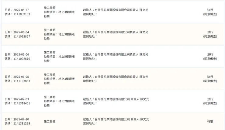
2025/6 營收 20.6 億年增 78.6% 創新高,前 6 月累計營收 98.3 億年增 58.9% 也創新高,下圖是更新洋基與根基共同承攬的 ASML 林口廠統包工程進度,每個月都有勘驗記錄,這個大案可以貢獻不少營收給倆公司

新北建管處
股價方面從 4 月初關稅風暴最低點 328.5 元,到近期波段高點 475.5 元,三個月漲幅逾四成很不錯
潤弘 2597

潤弘

子公司潤泰材

子公司潤德
2025/6 營收 30.2 億年增 22.2% 創新高,前 6 月累計營收 140 億年增 15.1% 創新高。同步觀察潤弘子公司潤泰材 6 月營收 6.11 億第 4 高、前 6 月累計營收 35.3 億創新高,潤德 6 月營收 2.08 億創新高、前 6 月累計營收 11.9 億創新高,兩家子公司都對潤弘創新有幫助
潤弘 6/11 除息 7.7 元後花 17 天在 7/3 填息,因 00713 ETF 刪除成分股調節持股的影響應該快結束了,但對長期投資者影響不大就是


























