摘要
工具機平面度是幾何精度的關鍵,一般使用水平儀或視準儀進行量測。本文首先針對平面度的定義以及平面度的量測路徑做說明,解釋直線度定義、分析方法及計算方法,之後以平面度量測案例說明,最後說明何謂平面度封閉誤差。期待國內業者能建立正確的量測觀念並有效改善現有工具機的精度,提升國內機台在國際上的競爭力。
關鍵字: 工具機、平面度、ISO1101、ISO230-1、水平儀、視準儀、封閉誤差(Closure error)
1. 前言
工具機的裝設標準面或線性運動的引導面皆屬平面形狀,故為了零組件裝配及運動精度其平面度要求更顯得重要,其精度高的工具機不但提升了工具機的品質更可以維持更長的使用壽命。
根據ISO1101產品幾何規格規範以及ISO230-1在無負荷或精加工條件下機床的幾何精度規範,其對平面度的定義為“所謂平面度是指機械幾何平面偏差的大小”意思為將平面度定義為虛擬上、下兩平行面,涵蓋其兩平面間最小距離稱之平面度。

Figure 1 平面度誤差定義[1]
實際平面上有無限個點故若照此定義來檢驗平面度,其數據量龐大且實際檢驗也會有困難,故實際是透過多條真直度組合成一平面,最後進行誤差計算與分析。
平面度量測路徑主要有二種:
(1) U-JACK(或稱米字、對角線)。
(2) Grid(或稱方格)。

Figure 2 平面度兩種量測路徑
當工作台較小(如1000mmx1000mm以下)不管使用何種量測方法其誤差是相近的,但對於大尺寸平台(如大型龍門機型4000mmx2500mm以上)使用U-JACK未量測到的位置較多,對於整體平面度誤差較不客觀。

Figure 3 方格法量測客觀性較高
所以現今ISO規範如ISO10791切削中心機規範及ISO8636龍門加工機規範皆建議採用方格法進行檢驗。
依過往經驗得知檢驗大工作台(如4000mmx2500mm,跨距500mm)非常耗時,且非單人可完成之工作。故建議進行大型工具機組裝其初期校驗平面度時可先使用U-JACK路徑量測確認規格,最後進行方格法驗證,可提升工具機組裝效率及精度允收控制。
2. 真直度
所謂真直度即是待測實際線(路徑)對理想直線的變動量大小,常用分析方法有三種,分別是兩端點歸零法(End Point fitting)、最小平方法(Regression) 以及區域法(Minimum Zone Method),三種方法以兩端點歸零法計算最簡便,而最小平方法與區域法因計算較複雜,需利用軟體進行分析與計算。
兩端點歸零法這種修正線是由一條通過測量工作之第一個點與最末點的參考直線來表示,它是由所測量的直線資料減去這條修正線以產生新的直線度資料,在直線上之第一個點與最後一點測量值都會歸零。

Figure 4 兩端點歸零法[2]
用最小平方法來計算直線度時,它是由所測量的直線資料減去這條迴歸修正線以產生新的直線度資料,其中心線是以一條平行於測量軸向的直線來表示。

Figure 5 最小平方法[2]
區域法為ISO1101標準分析法,為兩條平行線其可涵蓋所有量測值且兩線之間距離為最小。

Figure 6 區域法[2]
常用檢驗真直度為水平儀、視準儀,其量測值皆為角度誤差,而工具機在微小角度的慣用單位為角秒(arc-sec),其角度單位使用為60進位制,即1度可分割為60分,1分再分割為60角秒,故1度=3600角秒。

Figure 7 角度單位的換算示意
另一種角度單位為斜率(mm/M),傳統的氣泡式水平儀採用的量測刻度即為斜率單位;一般氣泡式水平儀的量測解析度為0.02/M,透過換算亦可得到對應的角秒單位,0.02mm/1m ≒ 4arc-sec。
直線度量測需滿足下列三條件:
1. 每一步距的微小角度的量測值(由量測儀器決定)。
2. 每一步距的長度(治具與待測面的接觸長度)。
3. 每一步距的相互關係(頭尾相接的兩點連鎖法)。
針對第1點則由量測儀器決定角度誤差值,第2點每一步距的長度則可參考下圖例,如使用視準儀量測,必須將平面鏡治具組模組當作一固定的跨距長度,此為計算的基礎依據。

Figure 8 固定的跨距長為量測基礎
以角度誤差利用固定間距轉換真直度,跨距若假設為斜邊其位移變化量即為Lsinθ,亦可直接以弦長計算Lθ,由於角度誤差微小所以Lsinθ≒Lθ,角度轉換位移Lsinθ示意圖如 Figure 9。

Figure 9 固定跨距及傾角便可計算相對高度
Table 1 常用跨距角度與相對高度關係表

第3點每一步距的相互關係代表所有量測模式必須遵守頭尾相接的,採用連鎖法方式量測才能真實地量測出待測物件誤差,示意圖請參考 Figure 10。

Figure 10 跨距緊密接合反應真實真直度
以視準儀量測案例說明,反射鏡跨距103.5mm其量測總長1242mm,透過量測可得每線段的角度誤差值(arc-sec),以H=Lsinθ即可計算出相對高度,而直線度是一連續誤差故需要計算出累積的高度差,然後得出一條連續曲線,最後透過兩點歸零法,扣除斜率誤差將前後數據歸零,得到兩端點歸零法之代表線。

Figure 11 視準儀量測案例說明
以下表案例作說明其跨距長為103.5mm,可以先計算出每弧秒的相對高度值,按公式H=Lsinθ即103.5mm x sin(1/3600) ≒ 0.5um,即每1弧秒誤差有0.5um相對高度差,利用此關係則可求得每個位置相對高度。
Table 1 視準儀量測案例表


Figure 12 視準儀案例累積位移

Figure 13 視準儀案例真直度兩點歸零
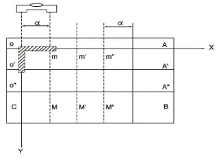
以水平儀檢驗方法說明:透過氣泡保持在最高位置的特性,可檢驗工具機是否於絕對水平狀態及檢驗角度變化;量測取最近易讀之基準線為準(參考下圖N1~N5),以下圖為例實際量測為N1(基準位置0),N2左邊一格(-1),N3左邊二格(-2),N4左邊一格(-1),N5右邊一格(+1),使用連鎖法量測則得到每一量測線段的傾斜程度,然後將線段連接得到一連續曲線(累積位移),此即為直線度。
以下案例為0.02mm/M單位之水平儀,其跨距為 206mm。

Figure 14 氣泡水平儀量測原理說明
Table 2 水平儀量測案例表


Figure 15 水平儀案例累積位移

Figure 16 水平儀案例真直度兩點歸零
3. 平面度
進行平面度檢驗時,需先確保待測面的絕對水平,避免機台傾斜不平衡影響精度。將水平儀放在欲校正的工作台面,確保水平儀0度與180度位置之數值相同,建議調整至0.050mm/M以內。

Figure 17 絕對水平的校正(兩位置數值相同)

Figure 18 傾斜的影響
上圖的A、B、C三個位置,假設水平調整得很好,在0.050mm/m以內(其平面度為零),這時候不論水平儀的位置是A、B、或C得到的答案一定會相近。假設水平調整得不好,0.050mm/m以外(其平面度為零),這時候不論水平儀的位置A、B、或C得到的答案一定會相差很大,因此還是將基準平面調整好比較重要。若遇到絕對水平在0.050mm/m以上的情況,必須先畫出平行線並使用平行直規讓水平儀保持筆直前進來消除水平誤差。

Figure 19 使用直規消除水平誤差
現今國際潮流主要為ISO規範的方格法進行量測透過方格法在測定面上均等分配,沿著各測定線求真直度,最後由真直度求面整體的平面度。以一方形平台為例:均等分配X向及Y向間距長度後進行量測紀錄其誤差。

Figure 20 方格法ISO規範示意圖
實測案例X向長1000mm,Y向長1500mm以跨距250mm進行量測,採用斜率(mm/M)量測單位。量測路徑如下圖:

Figure 21 量測路徑示意圖 實測規劃X方向為5條線,路徑為X1~X7;Y方向 為7條線,路徑為Y1~Y5。實測數據紀錄如下:

Figure 22 水平儀實測斜率誤差數據
由Wyler軟體量測紀錄誤差值並分析轉換出各點高度誤差量如下圖所示。

Figure 23 全路徑轉換成高度誤差量
選取ISO1101規範進行分析,其檢驗結果如下圖:

Figure 24 平面度誤差27.88um/封閉誤差6.25um
Table 3 分析數據表

4. 封閉誤差(Closure error)
所謂封閉誤差是平面度測量品質的指標。當使用不同的路徑在該測量點處計算高度時,閉合誤差是指在網格中測量點的最大偏差,如下圖所示。

Figure 25 網格中測量點的最大偏差即為閉合誤差
封閉誤差來源如下:
● 水平儀與待測面的溫度差(未同溫)。
● 改變原量測位置或振動影響。
● 未按照正確程序進行量測。
● 待測面或水平儀底面汙垢。
● 儀器未穩定前就擷取紀錄數據(穩定時間不足)。
● 行進間距沒有正確地頭尾相接(些微重疊)。
● 規劃方格路徑不正確。
● 測量底座磨損變形。
● 測量底座晃動重複性差。
通常封閉誤差不能超過平面度最大誤差20%~25%,若超過應確認影響封閉誤差來源是否排除。本文案例平面度27.88um其封閉誤差為6.25um,比例為22%故符合20%~25%之建議範圍。
5. 結論
本文重點整理如下:
(1)前言:平面度的定義以及平面度的量測路徑說明。
(2)直線度:直線度定義、分析方法及計算方法。
(3)平面度:平面度量測案例說明。
(4)封閉誤差:封閉誤差需在最大誤差20% ~ 25%。
工作台的平面度是幾何精度的基礎亦是組裝時的精度依據,例如主軸與工作台間使用X軸/Y軸移動的平行度、主軸心軸與工作台的垂直度,以及XY平面、XZ平面、YZ平面的垂直度,以上項目皆與平面度有相互間的關係,所以對於整體工具機幾何精度影響非常大。工具機產業被視為國家工業化程度的指標,近年來航太及汽車產業需求,在加工精度要求與日俱增的今日,機械幾何精度仍舊是最重要關鍵,本文以平面度誤差相關文獻的說明及實務檢驗經驗的分享,期待國內工具機業者能建立正確的量測觀念並有效改善現有工具機的精度,提升國內機台在國際上的競爭力。
6. 參考文獻
[1] International Standard, " Geometrical product specifications (GPS) - Geometrical tolerancing - Tolerances of form, orientation, location and run-out ", ISO 1101(2017).
[2] M.A.V. Chapman, " Calibration of machine squareness ", Technical white paper of Renishaw, TE328 (2013).
[3] International Standard, "Geometric Accuracy Of Machines Operating Under No-Load or Quasi-Static Conditions", ISO230-1(2012).
[4] International Standard, "Test conditions for machining centres - Part2:Geometric tests for machines with vertical spindle or universal heads with vertical primary rotary axis (vertical Z-axis)", ISO10791-2.
[5] Wayne R. Moore原著,蓀葆銓、孫樂南翻譯, 「機械準確性的基礎」,適齊出版社(1982)。
[6] 范光照,「精密量測」,高立出版社(2000)。
[7] http://www.wylerag.com























