這次我想寫一系列的文章,內容是教大家如何主動投資,內容會從投資觀念、到怎麼看股票選股票,再來到看法說會,怎麼抓停利停損,但還是會屬於偏初心者系列。
投資觀念
Q1. 為什麼要投資?不能只存錢嗎?
- 現金會縮水:通膨*1 每年都在偷走你的購買力*2,錢放著只會越來越不值錢。
- 大家都在做:公司把賺到的錢再投入生意擴張,我們個人也一樣得替自己的錢找「打工機會」。
- 重點是「風險 / 報酬」:用可承受的小風險,去換比定存高一點的報酬。每個人背景不同,所以沒有「一招打天下」的神工具。
Q2.投資是不是很複雜?我需要專業知識嗎?
- 其實不難:難的是資訊太多、意見太雜,反而讓人焦慮。
- 抓核心就好:先搞懂幾個原則(分散風險、長期持有、費用要低),其他細節慢慢學。
- 我寫文章/錄 podcast 的目的:就是把那些繞來繞去的投資術語 化繁為簡,讓新手也聽得懂。
Q3.投資一定會賺錢嗎?
- 不保證:只要是投資就有波動,你必須接受市場起伏。
- 但風險換機會:願意承擔比定存高一點的風險,就有機會拿到更好的報酬。
- 關鍵:搞清楚自己在冒什麼險、期待多少回報,心裡自然踏實。
Q4. 我應該從哪裡開始投資?
- 先想目的:為什麼投資?是退休、買房,還是單純不想錢睡著?
- 算出可用金額:把生活費、負債、目標都列出來,才知道能拿多少去投。
- 留緊急預備金:至少半年到一年的生活費先放好,不然市場一震你就得被迫賣股。
- 選工具:新手→定期定額 ETF,費用低、分散風險。想再拼一點→配置少量主動基金或個股,但要做功課。
- 持續調整:市場在變,你的收入、目標也會變,定期檢視就不容易走歪。
標的選擇與研究
那接下來用圖表來告訴大家,主流的金融標的 風險/報酬率比較。

縱軸-潛在報酬 橫軸-風險

僅供參考
會點進來的各位都是想看報酬率高得標的吧,那該如何選股呢?
這其實也是上節裡,如何設定自己投資計劃的延伸,我們可以先從目的開始,覺得很看好xx題材,覺得很看好iphone但是買不到,所以去找他的供應鏈,覺得逛街看到xx 經驗不錯,這些都可以是原因,也都是很棒的原因。
那選好之後怎麼研究呢? 首先先從如何看圖開始教,關於這隻股票他的公司財報、管理層經營、未來計劃,都是基本面。那他的股價走勢就是技術面,短線交易*3 會因為持股不久而只看技術面,但我們不鼓勵讀者投機,所以是以看懂線圖為主來教大家。
看圖教學
我們先舉2330 台積電為例子,公司上市會有公司代號,那左下角是基本面的財報數據,我們目前不需要,重點是右側的圖表。
上面有k棒形成的說明,而k棒構成線圖。日k的每一根k棒=每天交易簡意圖,週k 每一根=每週結果,月k亦然。
所以我們想知道長期投資的成效,就要從日k-月k來看,這樣可以知道短期內價格高低點在哪,中期、長期則在哪。下面的實心柱狀線是成交量、遠遠看k線可以看出來上漲或是下跌趨勢。
以下圖來說,今年5月到24年10月 台積電股價在1100-800元這個區間,那如果拉長來看呢?



月k的線是我畫的,依序是日-週-月k。 劃線是把最高點跟最低點拉出來,這樣可以更好閱讀。上面叫壓力*4 ,下面叫支撐*5。
看圖我們可以解讀一些情況。 2023-2024台積電還在400-600元,後來則是在700-1100元。
而月k看到更久之前,台積電2016以前有過200元。這些都是在幫助自己建立,怎樣是貴、怎樣是便宜的觀念。
所以現在你知道 台積電200塊你不買 1100才要,這個梗的意思了。
投資流程
那主動投資會像這樣,我可能去寶雅逛街,我覺得為什麼出門吃完飯,看到寶雅就是想逛一下,或是我另一半好喜歡逛寶雅,進去總是呆半小時才出來。
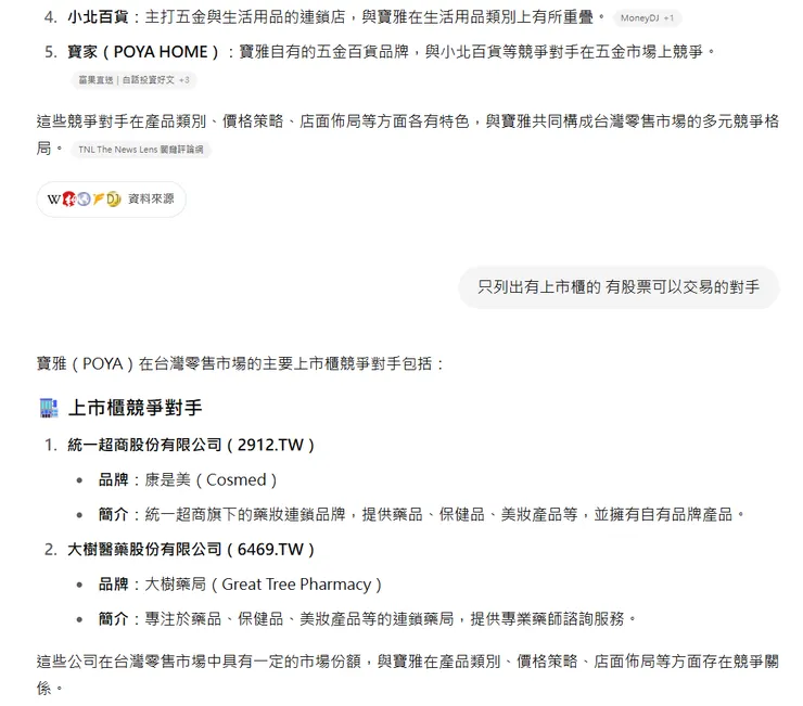
那我就來研究看看寶雅(這邊你已經選好了標的)。 然後我們可以查寶雅是什麼類的,對手都有誰。


現在ai很棒,可以善用詢問,那因為我們需要確定資料是近期、正確的,所以記得按下搜尋鈕。 然後我們不確定那些對手有沒有上市,所以要補充是否有上市櫃。

ai回答可能有誤,記得交叉查證。
那接下來我們有了對手之後,就要比較他們的財報,或是他們的商品差異,這個舉動是為了讓我們知道誰比較厲害,如果不了解你可能不小心押寶到吊車尾。

這是寶雅的月k,看這張圖你會發現跟台積電很不一樣,台積電長期趨勢是向上。可是寶雅是一個M ,這個原因是由很多因素組成。
寶雅上櫃的時間不長 (底下最早是2020),行業也不同,毛利率營益率也都不一樣,所以他們不太能一起比較。
那我們看他的對手,相似的統一超。 比較基準就要一樣,所以都是月k。
並不是股價高=棒,而是我們要賺漲幅。 舉例來說,一樣打算放10萬元買一檔股票, 你買200 跟 500元的,你會買到500股 / 200股,那如果200塊的 漲200%,你會得到20萬元,而500塊的 漲20% 你會得到12萬,所以重點是這隻股票會不會漲。

看這兩張圖的 52w高- 52w低 / 52w低 (一年中的高點-低點) , 這是要算低點買高點賣,一年內的報酬率。
寶雅是30.55% ,而統一超是33.62%, 那看起來統一超比較值得投資嗎?
這裡就有很多解釋空間,因為毛利率寶雅比較高,營益率跟淨利率、殖利率等等也都贏統一超,這樣為什麼統一超比較會漲?
這就要去看統一超的組成,因為統一超不只有康是美,他的主要貢獻是7-11,所以你可以說這有點不公平,因為寶雅變成主要是跟7-11比。

投資確實就是矛盾的事情,所以上述的了解都像是相親去了解這個對象,他的家境、為人、喜好等,結婚是需要慎重的,放很多錢的投資也是。 可是今天如果是交往就不用那麼詳細,而如果不是重大投資也是。 所以我會覺得其實投資就是生活。
風險管理
那會看圖、選股之後,如果我買對東西,可是我還是虧錢呢?
這裡我們要有 沒辦法一次到位的概念。 不煙不酒的人可能被酒駕撞死,又煙又酒的卻可能一輩子不會癌症。可是有沒有辦法解決這個問題呢?
那就是分批投入,我們不要覺得每次都要拼身家,歐印。 而是先試單, 先買一點點,例如 我計劃要買5支個股,組成一個我自己的etf,試試水溫。
我預期放10萬,先切好每隻股票的比例,例如平均分散20% 每隻2萬,那2萬 又可以再分10% 或是1% (這裡比例很靈活),假設買一股,200元。
那如果這隻股票買完跌100%,頂多只是損失200元,如果他跌很多,你可以慶幸還好你沒買多,或是這是一家很好的公司,那就是市場看錯,你可以正式開始建立部位。
分太散白做工
這邊以實例告訴大家,為何分批太零散反而白做工。
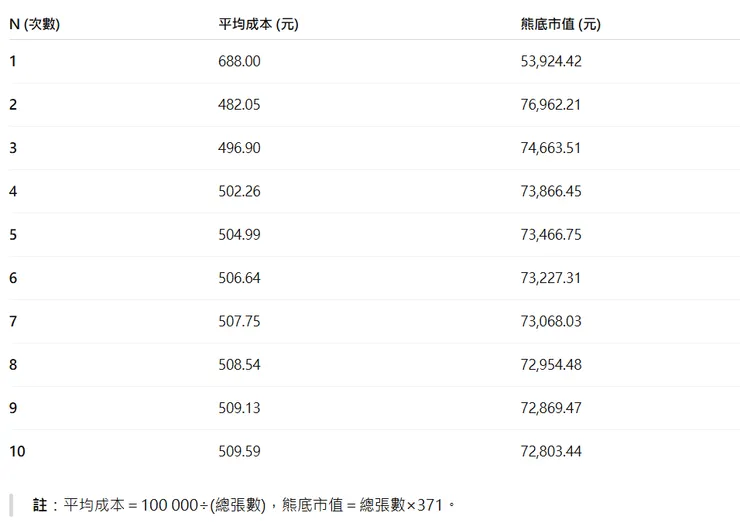
我們選個股,因為波動比較大,然後假設2022年整年熊市的條件,一開始買在短期最貴,也很厲害 第二次加碼時我們買到最底部,這樣的結果會怎樣。


重點在第二張,熊底市值是代表你的10萬在最底部的時候剩多少,剩越多對心理來說用開心(看起來損失更少)。平均成本第3-4次時就差不多了,第4次以後差距甚至不到3塊。
gpt說最好的是第二次時,但實務上根本不可能買在最高點又買在最低點。
於是我直接模擬買在比較可能的區間,設下十次買價,500-600是台積電2021的走勢,那400多以下就是超跌,這情況下可以得到結果,6次以後結果就差不多了,取得的股數差異不大。
股數是重點,因為最後漲回去,價格破新高,例如682(2021年以前最高點) -1100(2024-2025最高點),不論是買在50、300、600、800,最後都是一股=1100來算, 那越多股數就越好。

最後就是設定停利或停損,但我認為這可以拉到後面來長篇解釋,選對好得標的,並不需要設定一個很嚴謹的停利停損,這樣可能會害你損失很多機會。像是中華電信等耳熟能詳、一定會需要的公司,很難需要一直停損,而是可以考慮持續加碼攤平成本,不過這會是系列後面探討的。
今天消化這篇就好了。喜歡這系列文的請幫我留言或是按愛心,讓我知道您的想法與意見,有問題的也歡迎私訊我的社群,未來也會開程式相關的支線。
祝大家可以從Lv. 1開始慢慢升到 Lv.100 ,資產翻倍不是Lv. 90以上大大的權利,你也可以!
總結
今日總結:「主動投資」沒那麼難
- 投資觀念打底
- 為何投資:抵抗通膨、替錢找「打工機會」、以小風險換高報酬。
- 新手不怕:抓住「分散風險、長期持有、低費用」三原則,先上路再細究細節。
- 要心裡踏實:接受波動,提前想好目標、可動用資金和緊急預備金。
- 標的選擇與研究
- 先問自己「為何看好這家公司?」產業趨勢、消費體驗都算理由。
- 基本面+技術面並重:對財報、毛利率、團隊做功課;看 K 線、成交量、壓力/支撐判斷趨勢。
- 用風險/報酬圖表比較各類標的,快速鎖定符合自己預期的機會。
- K 線圖教學
- 日 K、週 K、月 K 的意義與用法:短、中、長期趨勢一次搞定。
- 成交量柱狀+壓力/支撐線:辨識趨勢延續或反轉的關鍵訊號。
- 以台積電、寶雅等實例演練,看懂「貴在哪、便宜在哪」。
- 投資流程+風險管理
- 試單+分批:先少量試水溫,依高低點或等距波段分批加碼。
- 分散最佳次數:以實例說明分散次數效益6次以後差距不大。
備註:
- 通膨 :物價整體往上漲的現象,就像每年你的錢都在「縮水」,同樣的一百元,買到的東西越來越少。
- 購買力 :你的錢能買到多少東西?購買力高,表示一張鈔票能買到更多;反之,就買不到那麼多。
- 短線交易 :買進後只抱幾天、幾週就賣,靠股價小波動賺差價。動作快、風險高,而且交易成本也比較多。
- 壓力 :股價往上攻時,到了某個價位就有人大量出脫,像撞到「看不見的牆」,很難突破。
- 支撐 :股價往下跌時,跌到某個點就有買盤出現,像被「看不見的柱子」撐住,暫時不會再跌下去。

























